产品分类
- 光电直读光谱仪
- 高频红外金属材料元素分析系统
- 电弧红外金属材料元素分析系统
- 金属材料元素分析系统
- 高频红外碳硫分析仪
- 电弧红外碳硫分析仪
- 铁水碳硅锰快速分析仪
- 炉前铁水碳硅分析仪
- 智能管理铁水分析仪
- 钢水/铁水测温仪 热电偶
- 碳硫分析仪
- 三元素分析仪
- 电脑多元素分析仪
- 微机高速分析仪
- 金相分析仪(系统)
- 铝合金分析仪
- 铜合金分析仪
- 铁矿石分析仪
- 电子天平和分析天平
- 燃烧炉
- 硬度计
- 专用添加剂及配件
- 更多化验分析仪器
- HXD-6C型炉前铁水质量管理仪(铁水...
- 炉前操作的碳硅分析仪
- 钢铁五元素分析仪器
- 不锈钢材料分析仪
- 钢材分析仪器
- 蠕铁化学成分分析仪器HX型
- 铸造元素分析仪
- 铸铁材料化验设备
- 钢水测温仪厂家
- 枪表一体式铸造测温仪 铁水测温仪 钢水...
- 钢水测温仪HX-W330
- HXD-6C型炉前铁水质量管理仪器(铁...
- HXD-6C型炉前铁水质量管理仪哪里的...
- 南京炉前碳硅分析仪
- 炉前分析仪
- 带打印炉前铁水碳硅分析仪HXD-1C型
- 可打印炉前铁水碳硅分析仪 南京华欣HX...
- 带打印灰铁球铁铁水碳硅分析仪
- 高频红外铁矿石分析仪
- 高频红外碳硫分析仪化验铁精粉
- 高频红外碳硫分析仪(大高频)HX-HW...
- 滚珠轴承钢元高频红外碳硫分析仪
- 高频红外碳硫分析仪HX-HW8B型
- 钢铁碳硫分析仪
- 碳硫仪
- 碳硫测定分析仪
- 合金钢分析仪
- 金属含量化验仪器
- 不锈钢分析仪价格
- 碳硫分析仪
- 高锰钢光谱分析仪
- HXD-5C型炉前铁水分析仪
- 炉前碳硅分析仪HXD-2C型
- 南京华欣碳硫分析仪
- 光谱分析仪能检测什么
- 智能铁水碳硅测试仪HXD-6C型
- 南京铁水碳硅锰分析仪
- 铁液碳硅锰分析仪厂家直销
- HXD-4C型铁水碳硅锰快速分析仪
- 炉前铁水碳硅锰分析仪
- 炉前铁水碳硅锰分析仪
- 碳硅锰铁水分析仪
- HXD-4C型炉前碳硅锰快速分析仪
- 铁液质量管理仪
- 铸造炉前铁水分析仪
- 铜合金金相分析仪
- 金属光谱分析仪价格
- 炉前热铁水分析仪
- 不锈钢光谱分析仪
- 铸造材质铁水分析仪
- 碳硅测试仪
- 高碳钢分析仪 厂家直销
- 国产火花直读光谱仪
- 碳硫分析仪厂家排名
- 碳硅分析仪采购
- HXD-6C型智能铁水管理仪
- 钢坯材质红外碳硫分析仪
- 不锈钢红外碳硫分析仪
- 国产光谱分析仪
- 碳硫联测分析仪哪里生产的
- 全谱直读光谱仪
- 高频红外碳硫仪价格
- 碳硫仪价格
- 碳硅炉前分析仪价格
- 全谱直读光谱仪哪里生产的好?
- 多元素快速分析仪南京华欣
- 碳硅炉前分析仪
- 电脑碳硫分析仪器价格
- 炉前成套化验设备
- 钢铁金相分析仪HX-JX2型
- 金相分析仪厂家
- 国产直读光谱仪哪家好
- 台式全谱直读光谱仪价格
- 钢材成分分析仪器
- 电脑碳硫分析仪,电脑碳硫分析仪价格,电...
- 高频多元素一体化分析仪的鼻祖
- 316L超低碳不锈钢红外碳硫分析仪
- 南京华欣直读光谱仪
- HX-750(PMT)型光电直读光谱仪...
- 耐磨铸件分析仪
- 金属光谱分析仪价格 金属光谱分析仪型号
- 火花直读光谱仪哪里好?
- 金属光谱分析仪哪里好?
- 合金钢碳硫分析仪 南京华欣HXE-3B...
- 高炉铁水分析仪器
- 普碳钢金属红外碳硫分析仪
- 球铁铸造炉前铁水成分分析仪 南京华欣H...
- 车轴铸造材料元素含量分析仪 南京华欣H...
- 钢铁元素快速联测分析仪
- 球墨铸铁盘插分析仪
- 铸钢件成份分析仪
- 高速钢碳硫分析仪
- 可锻铸铁坯件分析仪
- 钢材材料中化学元素成分化验仪器
- 索具材质分析仪 碳硫锰磷硅分析仪
- 大屏幕炉前碳硅仪_大屏幕炉前碳硅仪价格
- HX-W330钢铁测温仪
- 黑色金属分析仪价格_金属元素分析仪厂家...
- HX-W330钢铁测温仪
- HX-W330钢铁水测温分析仪
- 火花光电直读光谱仪HX-750(PMT...
- 火花直读光谱仪价格 厂家
- 高频红外碳硫仪哪里的好?
- 定碳杯 热分析样杯 浇样杯
- 不锈钢检测设备厂家及价格
- 金属元素含量分析仪
- 光电直读光谱仪价格指导
- 铸造材料元素分析仪厂家直销
- 炉前铸造铁水测温仪_铸造测温仪价格_铸...
- 金属多元素联测分析仪
- 不锈钢金属成分分析仪
- 南京电弧红外碳硫分析仪
- 电脑多元素分析仪器
- 南京红外高频碳硫测定仪
- 红外高频碳硫测定仪
- 碳硫快速分析仪
- 华欣炉前碳硅分析仪
- 不锈钢金相分析仪
- 炉前铁水分析仪HX-W330
- 不锈钢材质检测仪
- 铸造测温仪HX-W600型
- 无线式大屏幕铸造测温仪HX-W660型
- 炉前铝液测温仪HX-W330
- 炉前铜液测温仪HX-W330
- 炉前钢水测温仪HX-W330
- 炉前检测仪器
- 金属铸造元素分析仪价格
- 金属元素分析仪 材料化验仪器
- 炉前铁水测温仪HX-W330
- 铸造材料用分析仪
- 铁水测温仪
- 铁水测温仪HX-W660型
- 铁水测温仪HX-W330
- 多元素快速分析仪
- 钢铁成分检测仪
- 金属成分测试仪
- 金属钢铁分析仪价格
- 钢铁碳硫分析仪
- 钢铁材料分析仪
- 钢铁分析仪
- 碳硫检测分析仪
- 智能铁水管理仪全新功能
- 金相图谱分析
- 金相图谱分析仪
- 金属元素检测
- 铜材分析仪
- 南京金属材料分析仪
- 金属材料分析仪
- 华欣金属材料分析仪
- 元素检测分析仪
- 碳硫元素含量分析仪
- 南京碳硫测定仪
- 华欣碳硫测定仪
- 碳硫测定仪
- 不锈钢材质方面分析仪
- 碳硫检测仪器
- 碳硫检测设备
- CS分析仪
- 钢铁碳硫仪
- 钢铁碳硫分析仪
- HXD-4C型铁水碳硅锰分析仪
- 碳硫分析仪厂家直销
- 金属材质分析仪价格
- 金属材质分析仪
- 碳硫检测仪
- 化学含量分析仪
- 紧固件材料元素分析仪
- 钢材多元素分析仪
- 金属化学含量分析仪
- 化学元素分析仪器
- 金属化学分析仪
- 稀有金属专用高频红外碳硫分析仪
- 测粉末专用高频红外碳硫分析仪
- 炉前铁水分析仪介绍
- 智能碳硫分析仪
- 气容法碳硫分析仪型号汇总
- 钢屑铁屑分析仪器
- 五元素分析仪实用型
- 铁精粉化验仪器
- 五大元素碳硫锰磷硅分析仪
- 实用型炉前铁水分析仪
- 智能炉前碳硅分析仪HXD-5C型
- 智能炉前铁水分析仪HXD-5C型
- 光电直读光谱仪HX-750(PMT)型
- 华欣炉前铁水分析仪
- 金属五大元素分析仪实用方案
- 炉前碳硅分析仪主要技术特点
- 碳硫锰磷硅分析仪
- 钢铁五大元素分析仪方案
- 火花光电直读光谱分析仪HX-750(P...
- 国产直读光谱仪
- 多元素分析仪
- 炉前碳硅仪
- 华欣炉前碳硅分析仪
- 铸铁水元素分析仪
- 红外碳硫仪主要技术参数
- 华欣碳硫仪
- 炉前碳硅分析仪
- 炉前快速碳硅分析仪
- 金属碳硫分析仪价格
- 碳硫分析仪价格 金属材料分析
- 金属材料分析仪器
- 高频红外碳硫分析仪报价
- 南京高频红外碳硫分析仪
- 金属高速元素分析仪
- 快速元素分析仪
- 多元素快速分析仪
- 不锈钢成分测试仪哪有
- 不锈钢成分测试仪
- 元素分析仪 铸造铁水材料分析仪
- 钢热处理金相分析仪
- 金相分析仪价格
- 碳硫分析仪生产厂家直销
- 碳硫分析仪厂家
- 不锈钢牌号判断
- 台式全谱光谱分析仪HX-750(CCD...
- 金属钢铁类分析仪
- 华欣红外碳硫分析仪价格优势
- 碳硫分析仪型号
- 红外碳硫分析仪生产厂家
- 电脑碳硫分析仪
- 碳硫分析仪参数
- 碳硫分析仪电弧炉参数
- 红外碳硫分析仪生产厂家
- 红外碳硫分析仪
- 红外碳硫分析仪厂软硬件设施
- 高频红外碳硫分析仪价格
- 黑色金属分析仪
- 金属多元素分析仪
- 铸造分析仪
- HX-JX2金相分析仪
- 金相分析仪价格
- 碳硫分析仪厂家
- 红外碳硫分析仪价格
- 华欣高频红外碳硫分析仪感应燃烧炉
- 南京红外碳硫分析仪价格
- 碳硅分析仪价格
- 南京多元素分析仪
- 南京红外碳硫分析仪
- 碳硫分析仪生产厂家
- 不锈钢分析仪
- 高频红外碳硫分析仪价格
- 铁合金红外碳硫分析仪器
- 硅锰合金高频红外碳硫分析仪
- 铸造材料分析仪器
- 铸钢分析仪
- 金属材料理化分析仪
- 五大元素分析仪
- 钢铁元素分析仪
- 碳硫锰磷硅化学元素分析仪
- 五元素分析仪器
- 钢水测温仪
- 热处理金相分析仪
- 金属含量分析仪
- 五元素分析仪
- 铁水分析仪
- 炉前铁水分析仪
- 碳硅分析仪
- 理化分析仪器
- 化学元素分析仪
- 有线大屏幕熔炼测温仪HX-W600型


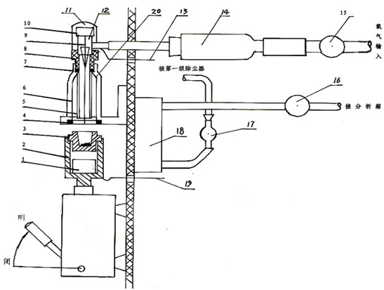
碳硫分析仪电弧炉构造说明
碳硫分析仪电弧炉构造
1、本电弧炉要使用高纯氧气助燃,使用氧气必须按照使用氧气的安全操作规程作业。
2、连接好电源线后,必须用试电笔检测坩埚座及壳体是否带电,坩埚座若带电应将电源之相、中线互换后再用试电笔检测;若壳体有极微弱的带电,应接好地线。一定要确认本电弧炉坩埚座和壳体不带电后,才能对本电弧炉进行操作。
3、电弧炉工作后,炉体、坩埚和坩埚座的温度较高,不要用手去触摸它们,以免烫伤。在按引弧按钮的瞬间,不得触及燃烧系统!
4、 华欣碳硫分析仪继续领跑本炉使用时应根据面板上的电流表,调节电极棒端部对坩埚内试样间隙(4——8mm)。如按动“引弧”按钮,电流表读数小或无读数,这说明极棒对试样间隙过大,这时应将图1所示之电极(图中序号9)向下拉一点。发现电流表读数过大或超出极限范围。说明极棒对试样间隙为零(即极棒与试样已短路),这时应把极棒往上调整。
5、 碳硫分析仪的外观及检测要求!本炉在正常使用情况下,需要引弧时,只要将(图2)“引弧”按钮瞬间按动一下,即可松手,就能高速点燃试样。若数次按动,不能点燃,应检查极棒对试样的间隙。严禁长时间按“引弧”按钮,以免烧坏电器元件。
1磁铁 2坩埚座 3坩埚 4密封圈 5石英玻璃管 6炉体 7密封圈
8炉体接头 9电极 10螺栓 11防护罩 12三通 13引弧火线 14干燥管
15前氧阀 16后控阀 17单元管 18流量计 19电源中线 20铜丝网







